离心泵

当前位置:网站首页 >> 产品中心 >> 离心泵 >> LW无堵塞立式排污泵

离心泵

LW无堵塞立式排污泵

LW型立式污水泵采用大流道防堵塞液压元件设计,无堵塞,可安装在任何方向,干式安装易于维护。
Details
LW Vertical Sewage dredge Pump

概述

LW型立式污水泵采用大流道防堵塞液压元件设计,无堵塞,可安装在任何方向,干式安装易于维护。

LW型立式污水泵产品特点

1、大流道设计有防堵塞液压元件,大大提高了污垢通过能力,可有效通过5倍于泵直径的纤维材料和直径约为泵开口50%的固体颗粒。

2、设计合理,配套电机合理,效率高,噪音低,节能效果显著。

3、机械密封采用单端面密封,材质为硬质、耐磨、耐腐蚀碳化钨,具有耐久性和耐磨性的特点,可使泵安全连续运行8000小时以上。

4、泵与电机直接连接同轴,是结构紧凑、性能稳定的机电一体化产品。

5、占地面积小,不需要建泵房,可节省大量基础设施成本;电机的风机叶片端部加装保护罩,整机可置于室外工作。

结构

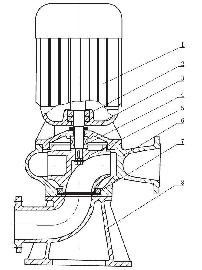
LW Vertical Sewage dredge Pump 1 电机 5 叶轮
2 轴承 6 泵体
3 电机支架 7 密封圈
4 机械密封 8 底座

Specification data

工作原理

立式污水排污泵

尺寸:

25~500mm

流量:

8~2600 m3/h

扬程:

7~32 m

功率:

0.75~250 kW

轴封类型:

双单面机封

材质:

铸铁,不锈钢304,不锈钢316

最小起定量

1台

包装

标准出口胶合板箱

订货交付时间

7~30天

其他类型

JYWQ自动搅匀潜水排污泵

LW无堵塞污水泵运行条件

1、污水泵工作环境温度为:≤40℃,湿度为≤95%;

2.介质温度不超过60℃,介质重量为1~1.3kg/dm3。

3.铸铁材料的使用范围为PH5~9。

4.1Cr18Ni9Ti不锈钢材料可用于一般腐蚀性介质。

5.使用环境的海拔高度不得超过1000米。如果超过,应在订货时提出,以便为您提供更可靠的产品。

注:如果用户对温度、介质等有特殊要求,请在订货时注明输送介质的详细情况,以便机组提供更可靠的产品。

LW立式污水泵结构说明

LW立式污水泵为单吸蜗壳式泵。泵采用无堵塞防缠绕式单(双)大流道叶轮,通过能力好。本系列泵有两种结构形式,一种是电机与泵直接同轴,另一种是联轴器连接,电机采用标准立式电机。结构图如下所示,每个结构有两种基础连接,一种是入口的水平吸力,具有转角功能。根据使用要求,进出口可放置在0°、90°、180°、270°位置,便于管道安装。二是入口的轴向吸力,便于垂直安装。

LW立式污水泵适用范围

适用于化工、石油、制药、采矿、造纸、电厂和城市污水处理、市政工程、公共设施污水等输送带颗粒的污水和污染物。

Send Inquiry
浙江扬子江泵业有限公司版权所有