离心泵

当前位置:网站首页 >> 产品中心 >> 离心泵 >> FP/FS塑料自吸离心泵

离心泵

FP/FS塑料自吸离心泵

FP(FS)系列FP塑料自吸离心泵将泵壳和支架与电机法兰连接在一起。支架支撑壳体和叶轮,叶轮通过轴与电机直接连接。PVDF化工离心泵配有机械密封,并引进国际先进技术和技术配方,使用CFR-PP和改进的ARS作为泵材料,充分体现了其先进的设计。
Details

概述

FP(FS)系列化学泵采用直接连接结构,将泵壳和支架与电机法兰连接。支架支撑壳体和叶轮,通过轴与电机直接连接。PVDF化工离心泵采用机械密封,引进国际先进技术和技术配方,采用CFR-PP和改进的ARS作为泵材料,充分体现了其先进设计。我们有如下选择的紧密耦合和长耦合结构方式。

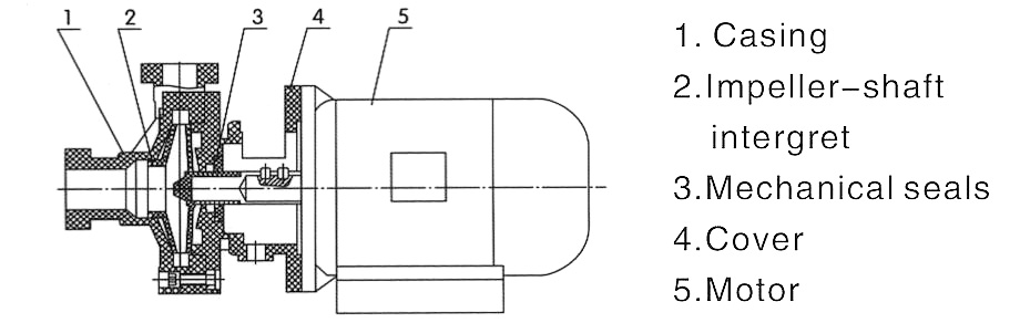
工程塑料离心泵的结构

Structure of FS centrifugal pump


FP增强聚丙烯离心泵的结构


Structure of FP reinforced polypropylene centrifugal pump

应用

PVDF系列化学离心泵可用于要求无故障泵送腐蚀性或轻微污染液体的场合。

• 化学和石化工业

• 制药工业

• 涂料行业

• 塑料和橡胶工业

• 水处理行业

• 造纸和纤维素工业

• 纺织工业

• 食品和饮料行业

优势

• 先进紧凑的结构

• 重量轻

• 工作寿命长

• 低成本

限制

• 最高温度不超过80摄氏度

• 不要干燥

规格详情

流量:

1 ~ 50 m3/h

扬程:

5 ~ 30 m

50Hz时的转数:

2900 RPM

进口直径:

20~ 80 mm

出口直径:

15 ~ 65 mm

功率:

0.12 ~ 7.5 kW

工作原理:

PVDF化工离心泵

用途:

腐蚀性化学液体、酸、碱、盐、98%硫酸等

为什么选择我们

A、 经验丰富的专业技术人员。以我们的产品为荣。

B、 质量保证!先进的数控系统、加工中心、测试中心。

C、 根据客户需求定制。

标准包装

1).每箱一个小泵。

2).每个标准出口胶合板箱有几个普通泵。

Send Inquiry
浙江扬子江泵业有限公司版权所有