离心泵

当前位置:网站首页 >> 产品中心 >> 离心泵 >> ZCQ磁力驱动自吸离心泵

离心泵

ZCQ磁力驱动自吸离心泵

ZCQ型磁力驱动自吸离心泵是在CQ型电磁泵的基础上,根据许多用户的要求成功研发和测试的新产品,它不仅具有CQ型磁力泵的功能,而且具有自吸功能,无需底阀,自吸高度为4米。
Details

概述

ZCQ型磁力驱动自吸离心泵是在CQ型电磁泵的基础上,根据许多用户的要求,成功研发和测试的新产品,它不仅具有CQ型磁力驱动泵的功能,而且具有自吸功能,无需底阀,自吸高度为4米。

应用

ZCQ系列磁力驱动自吸离心泵是一款无故障产品。不需要机械密封。性能相当于标准离心泵。

• 石化和精细化工行业

• 生物医学和制药工业

• 冶金、黑色和有色金属工业

• 油漆、塑料和橡胶行业

• 电镀和抛光行业

• 造纸、纺织和纤维素工业

• 环境保护、废气处理

• 食品和饮料行业

优势

• 流体或蒸汽排放泄漏风险极低

• 稳定的磁力驱动

• 几乎不需要维护

• 使用寿命长(约10年)

• 泵和电机无需对齐

限制

• 仅输送不含固体的清洁液体

结构

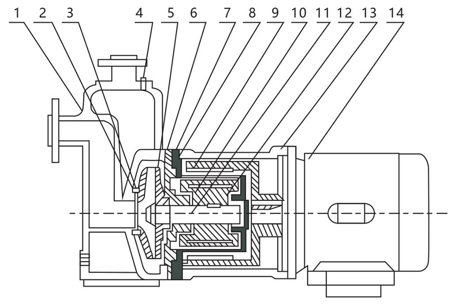
Structure of self-priming Magnetic Drive Pump

1

泵体

4 加水螺栓 7 隔板 10

内磁钢总成

13 连接支架
2

静环

5

叶轮

8

间隔层

11

14

电机

3

动环

6

密封圈

9

外磁钢总成

12

轴套



产品详情

工作原理:

磁力驱动自吸离心泵

流量:

4 ~100 m3/h

扬程:

15 ~32 m

转数:

2900 RPM

进口直径:

25 ~100 mm

出口直径:

20 ~65 mm

功率:

1.1 ~55 kW

最高工作压力:

1.6 Mpa

材质:

SS304, SS316, SS316L

自吸高度:

4m

粘度:

≦32×10-6m3/s

质保:

一年,易损件除外

交货时间

7~30天

包装:

标准出口胶合板箱

为什么选择我们

我们是磁驱动自吸离心泵制造商,在中国已有20多年的历史。希望以有竞争力的价格与您合作。如果您正在寻找磁力耦合泵供应商,请联系我们。

Send Inquiry
浙江扬子江泵业有限公司版权所有