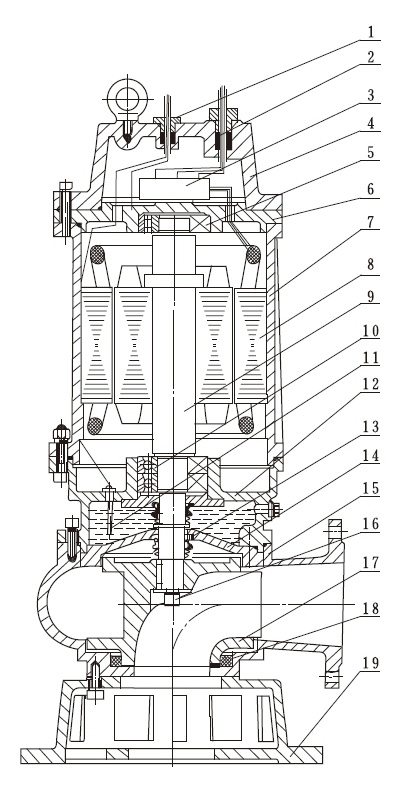
Construction of QW Submersible sewage water Pump
Summary
Yangtze¡¯s QW Submersible sewage water Pump is applied with the advanced Germany technology, combined with the efforts of technician in our company, our submersible pump is an advanced model among similar products in domestic and overseas. This pump has the features of high energy-saving efficiency, unique structure etc.
Construction
|
1 |
SignalLine |
5 |
Bearing |
9 |
Rotor |
13 |
Mechanical Seal |
17 |
Impeller |
|
2 |
Motor Connection |
6 |
Up Bearing set |
10 |
Bearing |
14 |
Rear cover |
18 |
Seal Ring |
|
3 |
Connection Case |
7 |
Motor casing |
11 |
Water leak probe |
15 |
Casing
|
19 |
Base plate |
|
4 |
Motor Cap |
8 |
Stator |
12 |
Oil Chamber |
16 |
Impeller Bolt |
20 |
|
English
ÖÐÎİæ
