Positive Displacement Pump
GF Sanitary Single screw pump
Summary
The single screw pump is an internal meshing closed screw pump. As the rotor type positive displacement pump(the Archimedes' screw pump), a single screw rotates in a cylindrical cavity, thereby moving the material along the screw's spindle. It has strong adaptability to the medium,which can transport various flowable medium , as well as highly viscous, fibrous, medium containing hard suspended or solid particles.
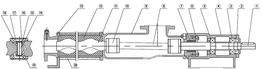
Construction
|
1 |
Pump Shaft |
8 |
Driving Shaft |
15 |
Pin |
|
2 |
Bearing Cover |
9 |
Suction Casing |
16 |
End Sleeve |
|
3 |
Bearing |
10 |
UniversalJoint |
17 |
Retainer |
|
4 |
Bearing Housing |
11 |
Screw |
18 |
Clamp |
|
5 |
Bearing |
12 |
Stator |
19 |
Rubber Sleeve |
|
6 |
Seal Gland |
13 |
Discharge Casing |
20 |
Tie Rod |
|
7 |
Shaft Seal |
14 |
Driving Shaft |
|
|
Advantage
Comparison of the screw pump and other pumps:
1. screw pump does not need to install a valve, stable flow and pressure pulsation when compared with the centrifugal pump,
2. The screw pump has strong self-priming ability and strong suction height: 5m when compared with the general pump
3. the screw pump can transport various mixed impurities containing gas, solid particles (Max.50mm) or fibers without destroying it , and can also transport various corrosive substances when compared with the diaphragm pump
4. the screw pump can transport high-viscosity substances£¬ maximum viscosity of 200,000cps and water containing rate of 50% depend on materiality when compared with the gear oil pump
5. screw pump can be used for pharmaceutical filling and metering when compared with the plunger pump, diaphragm pump and gear pump
6. Others, bearings are placed externally, fluids are not contaminated.flow direction can be changed and reversed running. Sealing is set on suction side, maintenance is easy.
Product details
|
Product Name: |
Sanitary food Single screw pump |
|
Driver: |
Electric Motor or Diesel Engine |
|
Capacity: |
0.8-150m3/h |
|
Maximum head/ Pressure: |
120m(0.6~1.2Mpa) |
|
Casing material: |
Stainless Steel |
|
Screw material: |
SS304 / SS316 |
|
Stator material: |
Food gradeNBR / Silicon Gel. /EPDM |
|
Seal way: |
Mechanical seal |
|
Motor type: |
YX3 Series motor / Gear box and YX3 series motor / Explosion proof motor/ Diesel Engine |
|
Max.permissible fluid temperature: |
120¡ãC |
|
Type of connection: |
Flange / Clamp |
|
Other type : |
Cast iron material type |
|
Suitable Medium£º |
1.High solid content (diameter of the biggest particle is 50mm) or no solid content Medium with allviscosity (1mPas-3,0O0,00OmPas) 2.Medium that is easy to be generated and swelled Shearing sensitive medium 3.Medium with erosion 4.Medium with/without self lubrication Erosive medium (PH=O~14) 5.Adhesive medium 6. Toxicity hazard medium |
Note: when use the clamp way, the flow rate and pressure will be some different. Please confirm before order placed.
Applications
As a rotor pump, the flow rate can be adjusted by changing the speed according to the requirements by reducer. The following ranges and industries are widely used:
|
1.Environmental protection: |
industrial sewage, domestic sewage, sludge anddirty water containing solid particles and short fibers, |
|
2.Shipbuilding industry : |
wheel bottom cleaning, oily water, oil residue, oily sewage and other media |
|
3. Petroleum industry: |
crude oil, crude oil and water mixtures, coal field gas and water mixtures, injecting polymers into formations, etc., reducinga lot of cost |
|
4. Medicine and daily chemicals: |
viscous pastes, emulsions, and various ointments and cosmetics |
|
5. Food canning industry: |
viscous starch, cooking oil, honey, syrup, fruit pulp, butter, minced fish and minced meat and its leftovers |
|
6. Brewing industry: |
alcohol viscous slurries, thick liquor tanks, grain product residues, various sauces, slurries and mucus containing massive solids, etc.; |
|
7. Construction industry: |
spraying and conveying of cement mortar, lime mortar, paint and other pastes; |
|
8. Mining industry: |
the groundwater and sludge water containing solid particles in the mine are discharged to the ground; |
|
9. Chemical industry: |
various suspensions, oils, various colloids, various adhesives: |
|
10. Printing and paper industry: |
conveying high viscosity ink, PVC polymer plastic paste for wallpaper and pulp and short fiber pulp of various concentrations. |
|
11. Industrial boilers, power plants: |
coal-water slurry. |
Specification data
|
Model |
Inlet |
Outlet |
Rated flow |
Pressure |
Speed |
Motor |
|||
|
mm |
mm |
GPM |
m3/h |
MPA |
PSI |
RPM |
KW |
HP |
|
|
G20-1 |
25 |
25 |
3.5 |
0.8 |
0.6 |
87 |
960 |
0.75 |
1 |
|
G20-2 |
25 |
25 |
3.5 |
0.8 |
1.2 |
174 |
960 |
1.5 |
2 |
|
G25-1 |
32 |
25 |
8.8 |
2 |
0.6 |
87 |
960 |
1.5 |
2 |
|
G25-2 |
32 |
25 |
8.8 |
2 |
1.2 |
174 |
960 |
2.2 |
3 |
|
G30-1 |
50 |
40 |
22 |
5 |
0.6 |
87 |
960 |
2.2 |
3 |
|
G30-2 |
50 |
40 |
22 |
5 |
1.2 |
174 |
960 |
3 |
4 |
|
G35-1 |
65 |
50 |
35 |
8 |
0.6 |
87 |
960 |
3 |
4 |
|
G35-2 |
65 |
50 |
35 |
8 |
1.2 |
174 |
960 |
4 |
5 |
|
G40-1 |
80 |
65 |
53 |
12 |
0.6 |
87 |
960 |
4 |
5 |
|
G40-2 |
80 |
65 |
53 |
12 |
1.2 |
174 |
960 |
5.5 |
7 |
|
G50-1 |
100 |
80 |
88 |
20 |
0.6 |
87 |
960 |
5.5 |
7 |
|
G50-2 |
100 |
80 |
88 |
20 |
1.2 |
174 |
960 |
7.5 |
10 |
|
G60-1 |
125 |
100 |
132 |
30 |
0.6 |
87 |
960 |
11 |
15 |
|
G60-2 |
125 |
100 |
132 |
30 |
1.2 |
174 |
960 |
15 |
20 |
|
G70-1 |
150 |
125 |
198 |
45 |
0.6 |
87 |
720 |
11 |
15 |
|
G70-2 |
150 |
125 |
198 |
45 |
1.2 |
174 |
720 |
15 |
20 |
|
G85-1 |
150 |
150 |
242 |
55 |
0.6 |
87 |
720 |
15 |
20 |
|
G85-2 |
150 |
150 |
242 |
55 |
1.2 |
174 |
500 |
18.5 |
25 |
|
G105-1 |
200 |
150 |
352 |
80 |
0.6 |
87 |
400 |
22 |
29 |
|
G105-2 |
200 |
150 |
352 |
80 |
1.2 |
174 |
380 |
30 |
40 |
|
G135-1 |
250 |
200 |
660 |
150 |
0.6 |
87 |
380 |
37 |
49 |
|
G135-2 |
250 |
200 |
660 |
150 |
1.2 |
174 |
380 |
75 |
100 |

English
ÖÐÎİæ

